HK-5T-W擺動式焊接小車是自動裝置,一次焊接可以獲得較寬的焊縫。擺動速度、擺動角度、中心偏移位置、和左右停留時間均可調整,適合各種不同規格的焊道。非焊接狀態下的小車行走速度為最大值(1900mm/min)。注意:由于焊接小車向氣保焊機是常通信號,且焊接不可避免地留有殘端,故設置和焊接時焊機的自保回路開關必須關閉(OFF)。如果設置成開(ON),則焊接小車停止行走,電弧卻不會熄滅。

構成說明
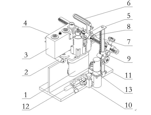
1.驅動部分:是驅動小車的裝置,由兩組磁輪,傳動齒輪,驅動電機組成。由于磁滾輪的吸力較大,
能夠牢牢吸附于鋼板上,保證小車的行走軌跡不會改變。
2.導向輪:小車啟動后,由于小車的自身重量全部集中在兩導向輪上,導向輪引導著小車沿著鋼板
上端面滾動爬行。
3. 電器箱:機器的電器元件安置在電器箱內,同時確保電器元件不受粉塵侵蝕。
4. 控制面板:小車的所有功能都集中在控制面板上,詳細內容請閱讀后續“控制面板說明”。
5. 焊槍電纜固定夾:固定焊槍電纜的裝置,為了方便使用焊槍的設施,設計制作采用可旋式電纜夾。
6. 手提手柄:使用此手柄方便機器的轉場與搬運。
7. 升降桿:升降桿連接焊槍夾持器,通過此物件的升降運動,可對焊槍上下高度進行升降調節,保證焊槍與焊縫處于最佳位置。
8. 橫移支架座:可對兩把焊槍的左右距離進行調節。
9. 移動升降座:調節焊槍的上下距離。
10. 角度微調裝置:可對焊槍與焊縫所處的角度進行微調。
11. 工件。
12. 焊槍:直柄或者彎柄,用戶自備。
13. 搖擺器總成

主要技術參數
|
1.外形尺寸 |
470mm×25mm×305mm |
|
|
2.機器重量 |
7.8 Kg(包括擺動器) |
|
|
3.輸入電壓 |
AC220V 50HZ |
|
|
4.擺動電機 |
DC24V |
|
|
5.驅動方式 |
四磁輪驅動 |
|
|
6.焊接速度 |
150~900mm/min |
|
|
7.焊槍調 整范圍 |
上下 |
300mm |
|
前后 |
100mm |
|
|
作業角 |
±45° |
|
|
進行角 |
10° |
|
|
8.擺動參數 |
左右停留時間 |
0~2.5S |
|
偏移距離設置 |
0~±8° |
|
|
擺動速度 |
0~100 |
|
|
擺動角度 |
±15° |
|
|
9.擺動模式選擇 |
|
|
焊接工藝參數
|
焊絲直徑 焊接參數 |
Φ1.2mm |
Φ1.4mm |
Φ1.6mm |
|
|
電流(A) |
平焊 |
120-300 |
150-380 |
180-430 |
|
平角焊 |
120-280 |
150-320 |
180-380 |
|
|
橫焊 |
120-280 |
150-300 |
180-330 |
|
|
電壓(U) |
① U=14+0.051 ②300A以下時U=0.041+16±1.50 300A以上時U=0.041+20±2.0 |
|||
|
噴嘴與工件間的距離(H) |
200A以下時 H=10~15mm 200~350A時 H=15~20mm 350~500A時 H=20~25mm |
|||
|
焊絲伸出長度(L) |
一般取焊絲直徑的10倍左右,即L=10d |
|||
裝箱清單
將裝置小心地從包裝箱中取出。首先,檢查各部件以確認其完整。各包裝組件中包含下列零部件:
|
1.主機 |
1臺 |
|
2.電源線(220V/16M) |
1根 |
|
3.保險絲(220V/2A) |
2只 |
|
4.內六角扳手 |
1套 |
|
5.連接轉換線(500mm) |
1根 |
|
5.說明書,合格證 |
各1份 |